剁手党的福利!PayPal新AR专利曝光

专利申请对于企业来说很重要,现在企业的创新就代表着企业的发展。没有创新就不会有什么好的发展。今年1月,Paypal申请了名为《增强现实查看产品说明书》的专利;上周,该专利已通过申请。专利出台了一个详尽方案,包括:产品信息、评价、所需附件等相关信息显示,与终端对终端购买。这技术,简直是剁手党的福利!

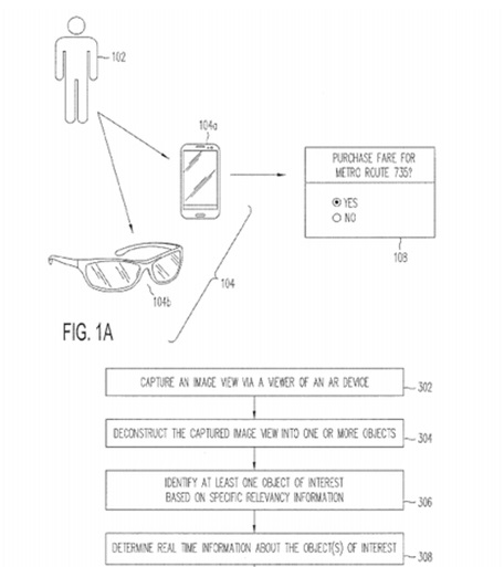
专利官方描述为:通过系统、算法和计算机程序产品用于识别感兴趣的对象,并提供有关使用增强现实设备的兴趣对象的相关信息。例如,电脑执行流程可能包括根据图像识别对象的多元化信息,将用户感兴趣的实时信息提炼、筛选并反馈到图像中。当用户带上AR设备,通过Paypal的系统,看到物品时,产品评价、所需附件、推荐产品等相关信息都将一一列出。全方位扫视物品以及相关推荐,Paypal将大大简化用户的购买流程。

当用户带上AR设备,通过Paypal的系统,看到物品时,产品评价、所需附件、推荐产品等相关信息都将一一列出。全方位扫视物品以及相关推荐,Paypal将大大简化用户的购买流程。
专利多次表示Paypal的用户,可直接购买像百思买(专利中特别提到)大型电子商务平台上的产品。帮助消费者安装宜家家具、通晓信息并做正确的购买决定,这些只是Paypal VR的初步计划。最终的设想是,用户看到任何一个实体物品,马上就能在网上搜索、下单、通过Paypal支付。
试着想象一下,以后我们在购物的时候,无需与销售员沟通,而是直接看见我们眼中的物品,通过我们眼中看到的物品进行网上搜索、下单并进行支付购买。如若此项技术能够完全实现,那么,它将会彻底的改变我们的生活方式。

专利多次表示Paypal的用户,可直接购买像百思买(专利中特别提到)大型电子商务平台上的产品。帮助消费者安装宜家家具、通晓信息并做正确的购买决定,这些只是Paypal VR的初步计划。最终的设想是,用户看到任何一个实体物品,马上就能在网上搜索、下单、通过Paypal支付。

科技发展如此迅速,对于我们的生活来说是越来越便捷了,科技发展创新,专利技术在我们的生活中占着重要的位置。随意现在社会大家应该积极创新,有了专利及时申请,对自己来说也是一门技术活!专利申请可以去知助侠知识产权,知助侠是专业知识产权服务平台,为广大企业、个人提供商标注册、专利申请、版权登记、高企认证等知识产权服务!专业团队,有知识产权客服一对一服务,让你在知识产权方面后顾无忧!
订单查询实时监控


专业
全程可跟踪
权威
高效
一对一服务
